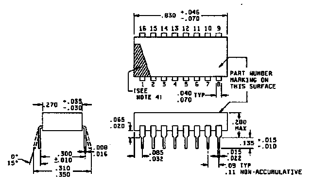
Style RZ020
Notes:
1)  Dimensions are inches.
2)  Metric equivalents are given for general information only.
3)  The picturization of the styles above is given as representative of the envelope item.  Slight deviations from the outline shown, which are contained within the envelope and do not alter the functional aspects of the device, are acceptable.
4)  Pin 1 locator shall be a dot, notch, stripe, or numeral 1 adjacent to pin no. 1, in the shaded area.