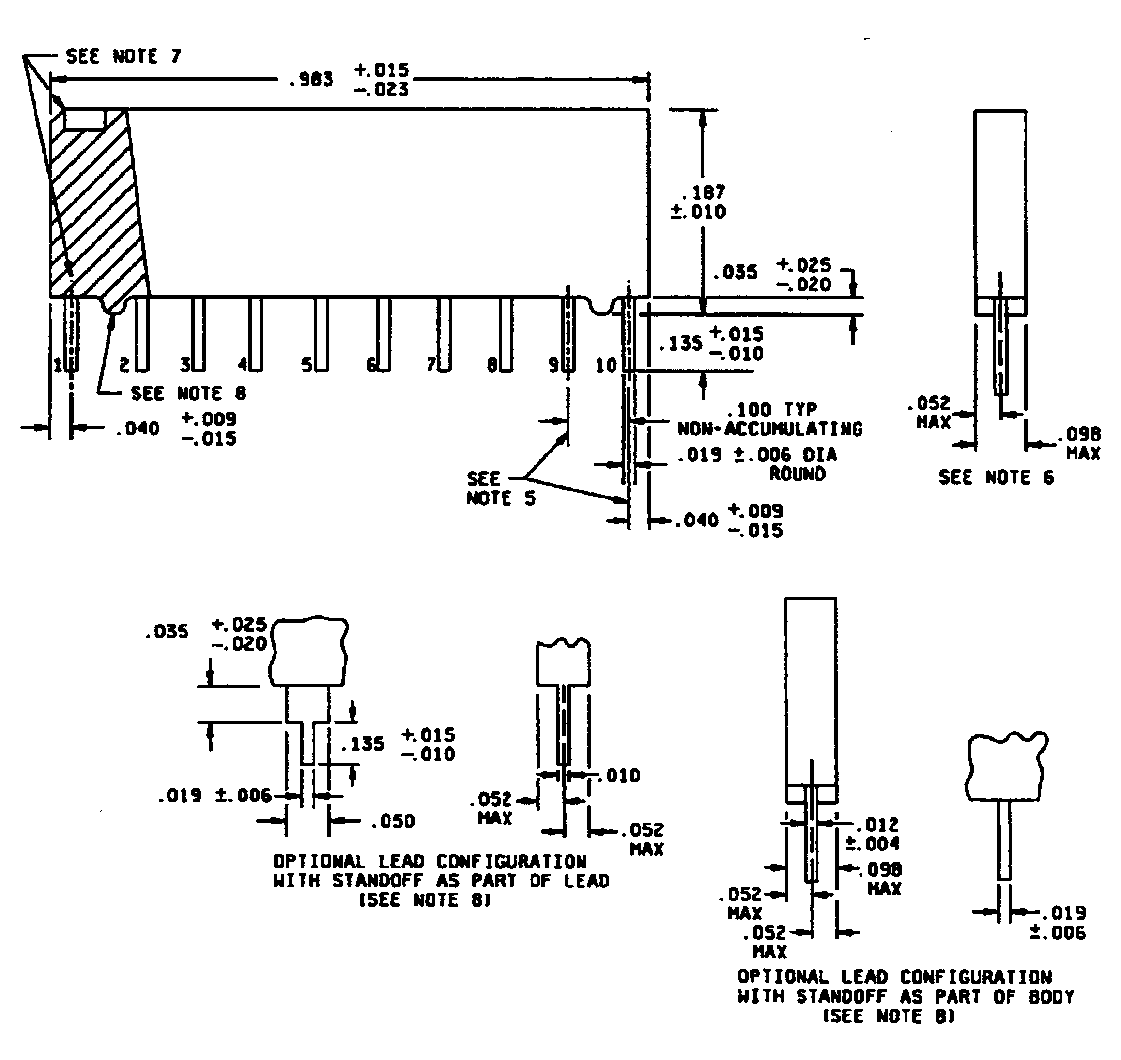
Style RZ090
Notes:
1)  Dimensions are inches.
2)  Metric equivalents are given for general information only.
3)  Unless otherwise specified, tolerances are ± 0.005 (0.13 mm).
4)  The picturization of the styles above is given as representative of the envelope and do not alter the functional aspects of the device, are acceptable.
5)  Terminal centerline to centerline measurements made at point of emergence of the lead of the body.
6)  Measurement made at the point of emergence of the lead of the body.
7)  Pin 1 locator shall be a dot, notch, stripe, or numeral 1 adjacent to pin no. 1, in the shaded area; also, additional marking may be placed on top edge where the bevel may be located.
8)  If the standoffs are located on the body, a minimum of two standoffs are required as illustrated.  As an option, additional standoffs may be located on the body of the resistor network.  If leads with standoffs are used, standoffs on the body are not required.